Отдел продаж
Обратный звонок
Режим работы:
Обработка заказов с 09:00 до 19:00 ежедневно

| Модель | ECT 643 WCSC |
| Бренд | Gorenje |
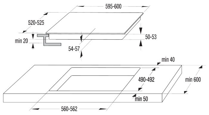
| Ширина | 60 см |
| Высота | 5.4 см |
| Глубина | 52 см |
| Установка | независимая |
| Переключатели | сенсорные |
| Индикатор остаточного тепла | есть |
| Тип панели | электрическая |
| Номинальная мощность | 7 кВт |
| Материал панели | стеклокерамика |
| Всего конфорок | 4 |
| Расположение панели управления | спереди |
| Цвет панели конфорок | белый |
| Ширина для встраивания | 56 см |
| Глубина для встраивания | 49 см |
| Таймер конфорок | есть |
| Кнопка блокировки панели | есть |
| Конфорок керамических | 4 |
| Конфорок Hi Light | 4 |
| Конфорок двухконтурных | 1 |
| Защитное отключение конфорок | есть |
| Кратковременная пауза | есть |
Загрузка данных...